Door & Components for 1985 Cadillac Seville

Vehicle

1985 Cadillac Seville

Change Vehicle

Categories

Browse Categories
Door & Components for 1985 Cadillac Seville #0 Door & Components for 1985 Cadillac Seville #1
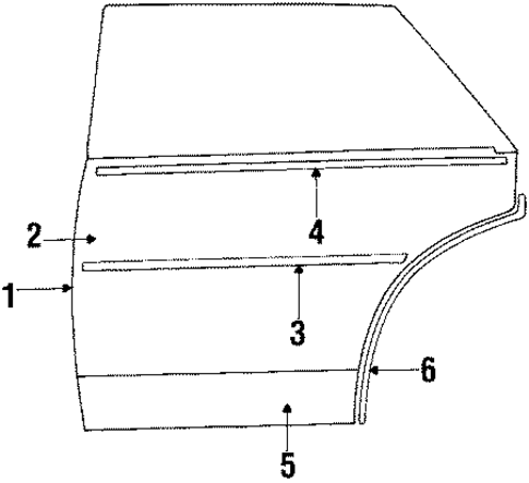
No.
Part # / Description / Price
Price
3
Molding
GM GM
Notes: PARTS: Order by color.
Description: Side, adhesive.
4
Molding
GM GM
Positions: Left
Description: Upper.
4
Molding
GM GM
Positions: Right
Description: Upper.
5
Molding
GM GM
Positions: Left
Description: Lower.
5
Molding
GM GM
Positions: Right
Description: Lower.
No.
Part # / Description / Price
Price
3
Body Side Molding
GM GM
Notes: PARTS: Order by color.
Description: Side, adhesive.
4
Molding
GM GM
Positions: Left
Description: Upper.
4
Molding
GM GM
Positions: Right
Description: Upper.
5
Molding
GM GM
Positions: Left
Description: Lower.
5
Molding
GM GM
Positions: Right
Description: Lower.